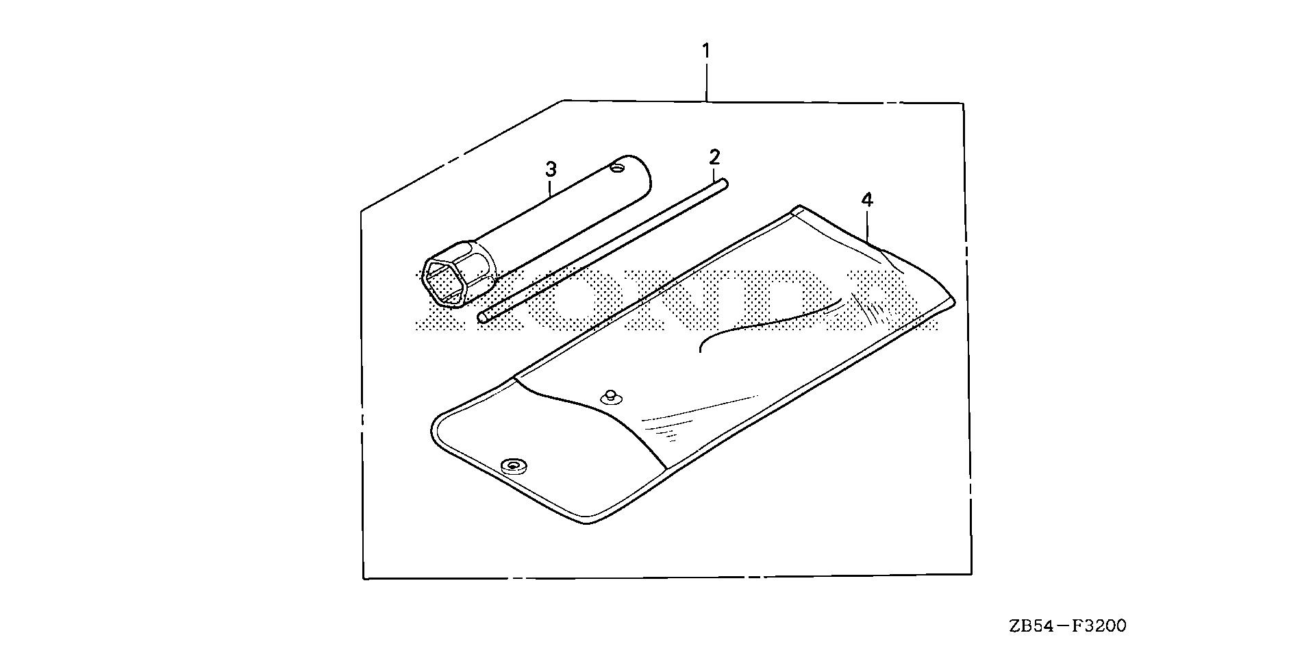
RV Generators EV EV4010 EV4010 LA ECA-1000001-1007535 TOOLS - Great Outboard, LLC.

Ref No
Part Number
Description
Serial Range
Qty
Price

Ref No
1
Part Number
89000-895-000
Description
TOOL KIT (N/A: SEE COMPONENTS)
Serial Range
1000001 - 9999999

Ref No
2
Part Number
89211-170-000
Description
BAR, PLUG WRENCH
Serial Range
1000001 - 9999999
Qty
Price
$3.08

Ref No
3
Part Number
99004-21001
Description
WRENCH, BOX (P21)
Serial Range
1000301 - 9999999
Qty
Price
$4.20

Ref No
4
Part Number
99008-01600
Description
BAG, TOOL (160MM)
Serial Range
1000301 - 9999999
Qty
Price
$2.92