Description BOLT, LIFT ROD ADJUSTING (NOT AVAILABLE)
Serial Range 5002290 - 9999999
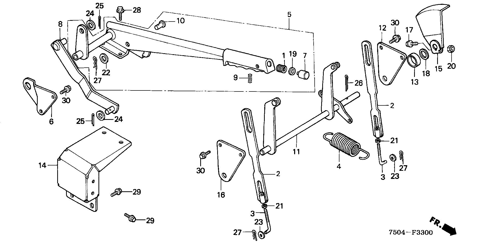
Ref No 4
Part Number 76193-750-000
Description SPRING, DECK LIFT
Serial Range 1000001 - 9999999
Ref No 5
Part Number 76310-750-000
Description LEVER ASSY., HEIGHT ADJUSTING
Serial Range 1000001 - 9999999
Ref No 5
Part Number 76310-750-010
Description LEVER ASSY., HEIGHT ADJUSTING
Serial Range 1000001 - 9999999
Ref No 5
Part Number 76310-750-020
Description LEVER ASSY., HEIGHT ADJUSTING
Serial Range 5116920 - 5117400
Ref No 5
Part Number 76310-750-030
Description LEVER ASSY., HEIGHT ADJUSTING (NOT AVAILABLE)
Serial Range 5204149 - 9999999
Ref No 7
Part Number 04405-750-020
Description GRIP KIT, DECK ADJUST
Serial Range 1000001 - 9999999
Qty
Price $44.12
Ref No 7
Part Number 76314-750-300
Description KNOB, PUSH ROD
Serial Range 5005700 - 9999999
Ref No 7
Part Number 76314-750-310
Description KNOB, PUSH ROD
Serial Range 5115626 - 5116919
Ref No 7
Part Number 76314-750-320
Description KNOB, PUSH ROD
Serial Range 5116920 - 5117400
Ref No 7
Part Number 76314-750-330
Description KNOB, PUSH ROD (NOT AVAILABLE)
Serial Range 5204149 - 9999999
Ref No 8
Part Number 76317-750-000
Description LINK, HEIGHT ADJUSTING ROD (NOT AVAILABLE)
Serial Range 5005700 - 9999999
Ref No 9
Part Number 76319-750-010
Description SPRING, PUSH ROD
Serial Range 5204149 - 9999999
Qty
Price $1.64
Ref No 10
Part Number 76324-750-300
Description PIN, HEIGHT ADJUSTING LEVER STOPPER
Serial Range 5116920 - 9999999
Qty
Price $4.26
Ref No 11
Part Number 76330-750-A00
Description SHAFT, LIFT (NOT AVAILABLE)
Serial Range 1000001 - 9999999
Ref No 12
Part Number 76331-750-000
Description STAY, L. LIFT SHAFT
Serial Range 1000001 - 9999999
Qty
Price $38.08
Ref No 13
Part Number 76332-750-000
Description SHACKLE
Serial Range 1000001 - 9999999
Ref No 14
Part Number 76335-750-A00
Description BRACKET, HEIGHT ADJUSTING LEVER
Serial Range 1000001 - 9999999
Ref No 15
Part Number 76338-750-000
Description INDICATOR, HEIGHT ADJUSTING
Serial Range 1000001 - 9999999
Ref No 16
Part Number 76339-750-000
Description STAY, R. LIFT SHAFT
Serial Range 1000001 - 9999999
Qty
Price $38.08
Ref No 17
Part Number 90102-KE5-000
Description BOLT, FLANGE (6X40)
Serial Range 1000001 - 9999999
Qty
Price $3.80
Ref No 18
Part Number 90403-952-770
Description WASHER, PLAIN (22MM)
Serial Range 1000001 - 9999999
Qty
Price $2.86
Ref No 19
Part Number 90408-KK0-000
Description WASHER (11MM)
Serial Range 5204145 - 9999999
Qty
Price $3.60
Ref No 20
Part Number 94001-06000-0S
Description NUT, HEX. (6MM)
Serial Range 5116920 - 9999999
Ref No 20
Part Number 94001-06200-0S
Description NUT, HEX. (6MM)
Serial Range 1000001 - 9999999
Qty
Price $1.60
Ref No 21
Part Number 94001-10070-0S
Description NUT, HEX. (10MM) (NOT AVAILABLE)
Serial Range 1000001 - 9999999
Ref No 22
Part Number 94102-10000
Description WASHER, PLAIN (10MM)
Serial Range 1000001 - 9999999
Qty
Price $0.92
Ref No 23
Part Number 94102-10800
Description WASHER, PLAIN (10MM)
Serial Range 1000001 - 9999999
Qty
Price $4.34
Ref No 24
Part Number 94102-12800
Description WASHER, PLAIN (12MM)
Serial Range 1000001 - 9999999
Qty
Price $1.48
Ref No 25
Part Number 94201-30250
Description PIN, SPLIT (3.0X25)
Serial Range 1000001 - 9999999
Qty
Price $1.26
Ref No 25
Part Number 94201-30450
Description PIN, SPLIT (3.0X45)
Serial Range 1000001 - 9999999
Qty
Price $1.26
Ref No 26
Part Number 94201-40350
Description PIN, SPLIT (4.0X35)
Serial Range 1000001 - 9999999
Qty
Price $1.38
Ref No 27
Part Number 94252-10000
Description PIN, LOCK (10MM)
Serial Range 1000001 - 9999999
Qty
Price $1.50
Ref No 28
Part Number 95701-08014-08
Description BOLT, FLANGE (8X14)
Serial Range 1000001 - 9999999
Qty
Price $2.20
Ref No 28
Part Number 95701-08014-08
Description BOLT, FLANGE (8X14)
Serial Range 5113545 - 9999999
Qty
Price $2.20
Ref No 29
Part Number 95700-08016-00
Description BOLT, FLANGE (8X16)
Serial Range 5103950 - 9999999
Ref No 29
Part Number 95701-08016-00
Description BOLT, FLANGE (8X16)
Serial Range 5103950 - 9999999
Qty
Price $2.20
Ref No 30
Part Number 95701-08014-08
Description BOLT, FLANGE (8X14)
Serial Range 1000001 - 9999999
Qty
Price $2.20
Ref No 30
Part Number 95701-08014-08
Description BOLT, FLANGE (8X14)
Serial Range 5113545 - 9999999
Qty
Price $2.20
Ref No 30
Part Number 95701-08016-08
Description BOLT, FLANGE (8X16)
Serial Range 1000001 - 9999999
Qty
Price $2.20
Item added to your cart
California Prop 65 Information
Internal Combustion Engine Products:
WARNING:
This product can expose you to chemicals including soots, tars, and mineral oils, which are known to the State of California to cause cancer,
and carbon monoxide, which is known to the State of California to cause birth defects or other reproductive harm. For more information go to
www.P65Warnings.ca.gov.
Miimo Robotic Mower
WARNING:
This product can expose you to chemicals including lead and lead compounds, which are known to the State of California to cause cancer and birth defects or other reproductive harm.
For more information go to
www.P65Warnings.ca.gov.