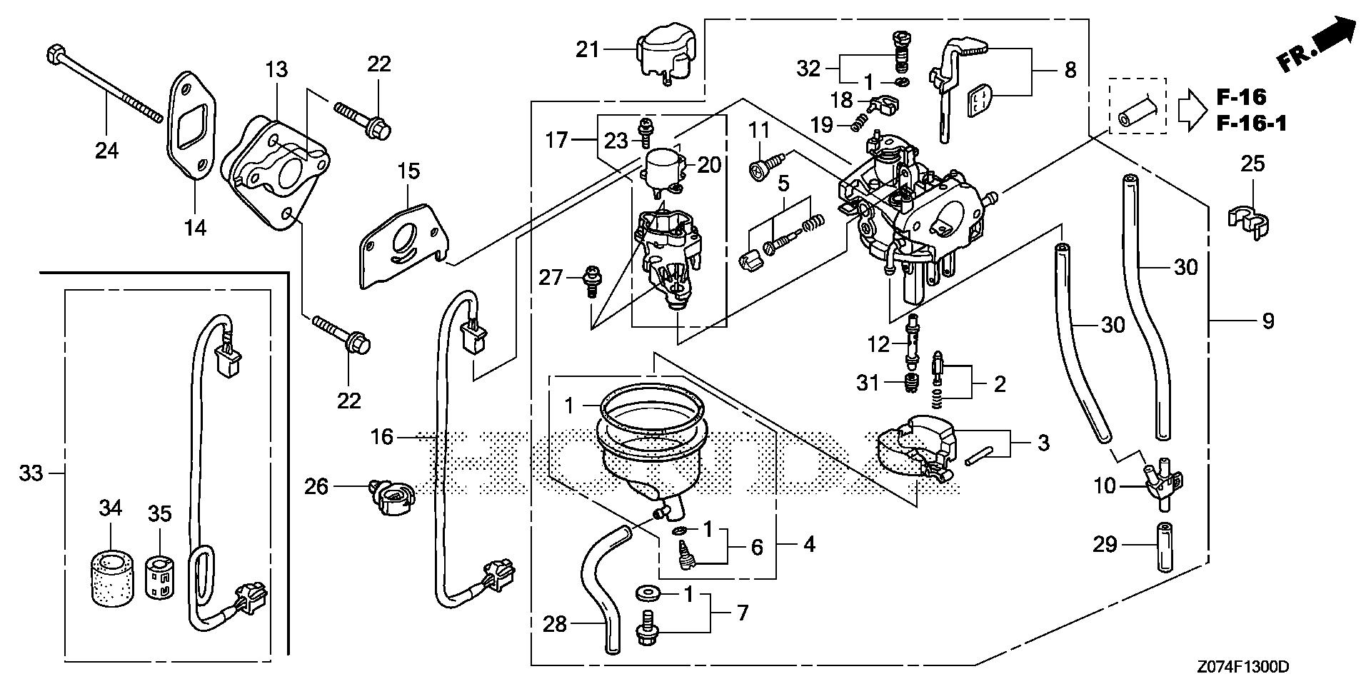
Ref No 
                        
                        
                            Part Number 
                        
                        
                            Description 
                        
                        
                            Serial Range 
                        
                        
                            Qty 
                        
                        
                            Price 
                        
                        
                            
 
                        
                            
                                Ref No 1
                            
                            
                                Part Number  16010-ZM7-D01
                            
                            
                                Description  GASKET SET
                            
                            
                                Serial Range   1000001 - 9999999
                            
                            
                            
                            
                            
                            
                            
                            
                                
 
                        
                            
                                Ref No 2
                            
                            
                                Part Number  16011-ZE0-005
                            
                            
                                Description  VALVE SET, FLOAT (SEAT NOT INCLUDED)
                            
                            
                                Serial Range   1000001 - 9999999
                            
                            
                                    Qty  
                            
                                    Price  $28.48                            
                            
                                    Add To Cart 
                            
                            
                                
 
                        
                            
                                Ref No 3
                            
                            
                                Part Number  16013-ZG0-811
                            
                            
                                Description  FLOAT SET
                            
                            
                                Serial Range   1000001 - 9999999
                            
                            
                                    Qty  
                            
                                    Price  $6.08                            
                            
                                    Add To Cart 
                            
                            
                                
 
                        
                            
                                Ref No 4
                            
                            
                                Part Number  16015-ZM7-003
                            
                            
                                Description  CHAMBER SET, FLOAT
                            
                            
                                Serial Range   1000001 - 9999999
                            
                            
                                    Qty  
                            
                                    Price  $60.12                            
                            
                                    Add To Cart 
                            
                            
                                
 
                        
                            
                                Ref No 5
                            
                            
                                Part Number  16016-ZH7-W01
                            
                            
                                Description  SCREW SET, PILOT
                            
                            
                                Serial Range   1000001 - 9999999
                            
                            
                                    Qty  
                            
                                    Price  $20.40                            
                            
                                    Add To Cart 
                            
                            
                                
 
                        
                            
                                Ref No 6
                            
                            
                                Part Number  16024-ZB9-005
                            
                            
                                Description  SCREW SET, DRAIN
                            
                            
                                Serial Range   1000001 - 9999999
                            
                            
                                    Qty  
                            
                                    Price  $9.66                            
                            
                                    Add To Cart 
                            
                            
                                
 
                        
                            
                                Ref No 7
                            
                            
                                Part Number  16028-ZG0-811
                            
                            
                                Description  SCREW SET
                            
                            
                                Serial Range   1000001 - 9999999
                            
                            
                            
                            
                            
                            
                            
                            
                                
 
                        
                            
                                Ref No 8
                            
                            
                                Part Number  16044-ZM7-D01
                            
                            
                                Description  CHOKE SET
                            
                            
                                Serial Range   1000001 - 9999999
                            
                            
                                    Qty  
                            
                                    Price  $37.70                            
                            
                                    Add To Cart 
                            
                            
                                
 
                        
                            
                                Ref No 9
                            
                            
                                Part Number  16100-Z0D-D01
                            
                            
                                Description  CARBURETOR ASSY. (BF30E B)
                            
                            
                                Serial Range   1000001 - 9999999
                            
                            
                            
                            
                            
                            
                            
                            
                                
 
                        
                            
                                Ref No 9
                            
                            
                                Part Number  16100-Z0D-D03
                            
                            
                                Description  CARBURETOR ASSY. (BF30E D/E)
                            
                            
                                Serial Range   1000001 - 9999999
                            
                            
                            
                            
                            
                            
                            
                            
                                
 
                        
                            
                                Ref No 10
                            
                            
                                Part Number  16112-ZM7-D01
                            
                            
                                Description  JOINT, AIR VENT TUBE
                            
                            
                                Serial Range   1000001 - 9999999
                            
                            
                                    Qty  
                            
                                    Price  $10.98                            
                            
                                    Add To Cart 
                            
                            
                                
 
                        
                            
                                Ref No 11
                            
                            
                                Part Number  16124-ZE0-005
                            
                            
                                Description  SCREW, THROTTLE STOP
                            
                            
                                Serial Range   1000001 - 9999999
                            
                            
                                    Qty  
                            
                                    Price  $17.88                            
                            
                                    Add To Cart 
                            
                            
                                
 
                        
                            
                                Ref No 12
                            
                            
                                Part Number  16166-Z0D-D01
                            
                            
                                Description  NOZZLE, MAIN
                            
                            
                                Serial Range   1000001 - 9999999
                            
                            
                                    Qty  
                            
                                    Price  $23.80                            
                            
                                    Add To Cart 
                            
                            
                                
 
                        
                            
                                Ref No 13
                            
                            
                                Part Number  16211-Z0D-D01
                            
                            
                                Description  INSULATOR, CARBURETOR
                            
                            
                                Serial Range   1000001 - 9999999
                            
                            
                                    Qty  
                            
                                    Price  $13.28                            
                            
                                    Add To Cart 
                            
                            
                                
 
                        
                            
                                Ref No 14
                            
                            
                                Part Number  16212-Z0D-D00
                            
                            
                                Description  GASKET, INSULATOR
                            
                            
                                Serial Range   1000001 - 9999999
                            
                            
                                    Qty  
                            
                                    Price  $1.76                            
                            
                                    Add To Cart 
                            
                            
                                
 
                        
                            
                                Ref No 15
                            
                            
                                Part Number  16221-ZG0-801
                            
                            
                                Description  GASKET, CARBURETOR
                            
                            
                                Serial Range   1000001 - 9999999
                            
                            
                            
                            
                            
                            
                            
                            
                                
 
                        
                            
                                Ref No 16
                            
                            
                                Part Number  32196-Z07-C00
                            
                            
                                Description  SUB-WIRE ASSY.
                            
                            
                                Serial Range   1000001 - 9999999
                            
                            
                                    Qty  
                            
                                    Price  $44.58                            
                            
                                    Add To Cart 
                            
                            
                                
 
                        
                            
                                Ref No 17
                            
                            
                                Part Number  36160-ZM7-D01
                            
                            
                                Description  MOTOR ASSY., THROTTLE CONTROL
                            
                            
                                Serial Range   1000001 - 9999999
                            
                            
                                    Qty  
                            
                                    Price  $109.40                            
                            
                                    Add To Cart 
                            
                            
                                
 
                        
                            
                                Ref No 18
                            
                            
                                Part Number  36161-ZL0-D31
                            
                            
                                Description  LEVER, LINK
                            
                            
                                Serial Range   1000001 - 9999999
                            
                            
                                    Qty  
                            
                                    Price  $13.88                            
                            
                                    Add To Cart 
                            
                            
                                
 
                        
                            
                                Ref No 19
                            
                            
                                Part Number  36162-ZL0-D31
                            
                            
                                Description  SPRING, COMPRESSION COIL
                            
                            
                                Serial Range   1000001 - 9999999
                            
                            
                                    Qty  
                            
                                    Price  $6.68                            
                            
                                    Add To Cart 
                            
                            
                                
 
                        
                            
                                Ref No 20
                            
                            
                                Part Number  36165-ZL0-D31
                            
                            
                                Description  MOTOR, THROTTLE CONTROL
                            
                            
                                Serial Range   1000001 - 9999999
                            
                            
                                    Qty  
                            
                                    Price  $102.40                            
                            
                                    Add To Cart 
                            
                            
                                
 
                        
                            
                                Ref No 21
                            
                            
                                Part Number  36168-ZT3-C01
                            
                            
                                Description  COVER, THROTTLE MOTOR
                            
                            
                                Serial Range   1000001 - 9999999
                            
                            
                                    Qty  
                            
                                    Price  $8.28                            
                            
                                    Add To Cart 
                            
                            
                                
 
                        
                            
                                Ref No 22
                            
                            
                                Part Number  90004-GHB-670
                            
                            
                                Description  BOLT, FLANGE (6X25) (NSHF)
                            
                            
                                Serial Range   1000001 - 9999999
                            
                            
                            
                            
                            
                            
                            
                            
                                
 
                        
                            
                                Ref No 23
                            
                            
                                Part Number  90003-ZL0-D30
                            
                            
                                Description  SCREW-WASHER (3X8)
                            
                            
                                Serial Range   1000001 - 9999999
                            
                            
                                    Qty  
                            
                                    Price  $2.30                            
                            
                                    Add To Cart 
                            
                            
                                
 
                        
                            
                                Ref No 24
                            
                            
                                Part Number  90010-Z0D-D00
                            
                            
                                Description  BOLT, HEX. (5X95)
                            
                            
                                Serial Range   1000001 - 9999999
                            
                            
                                    Qty  
                            
                                    Price  $4.02                            
                            
                                    Add To Cart 
                            
                            
                                
 
                        
                            
                                Ref No 25
                            
                            
                                Part Number  90601-Z0D-D00
                            
                            
                                Description  CLAMP, TUBE (7X8)
                            
                            
                                Serial Range   1000001 - 9999999
                            
                            
                                    Qty  
                            
                                    Price  $3.58                            
                            
                                    Add To Cart 
                            
                            
                                
 
                        
                            
                                Ref No 26
                            
                            
                                Part Number  90683-SA0-003
                            
                            
                                Description  CLIP, WIRE HARNESS (25MM)
                            
                            
                                Serial Range   1000001 - 9999999
                            
                            
                                    Qty  
                            
                                    Price  $12.12                            
                            
                                    Add To Cart 
                            
                            
                                
 
                        
                            
                                Ref No 27
                            
                            
                                Part Number  93893-04010-08
                            
                            
                                Description  SCREW-WASHER (4X10)
                            
                            
                                Serial Range   1000001 - 9999999
                            
                            
                                    Qty  
                            
                                    Price  $1.64                            
                            
                                    Add To Cart 
                            
                            
                                
 
                        
                            
                                Ref No 28
                            
                            
                                Part Number  95003-05008-60M
                            
                            
                                Description  BULK HOSE, VINYL (3.5X6.5X8000) (3.5X6.5X240)
                            
                            
                                Serial Range   1000001 - 9999999
                            
                            
                                    Qty  
                            
                                    Price  $27.30                            
                            
                                    Add To Cart 
                            
                            
                                
 
                        
                            
                                Ref No 29
                            
                            
                                Part Number  95003-07008-60M
                            
                            
                                Description  BULK HOSE, VINYL (4X7X8000) (4X7X30)
                            
                            
                                Serial Range   1000001 - 9999999
                            
                            
                                    Qty  
                            
                                    Price  $34.56                            
                            
                                    Add To Cart 
                            
                            
                                
 
                        
                            
                                Ref No 29
                            
                            
                                Part Number  95003-07008-60M
                            
                            
                                Description  BULK HOSE, VINYL (4X7X8000) (4X7X230)
                            
                            
                                Serial Range   1000001 - 9999999
                            
                            
                                    Qty  
                            
                                    Price  $34.56                            
                            
                                    Add To Cart 
                            
                            
                                
 
                        
                            
                                Ref No 30
                            
                            
                                Part Number  95003-07008-60M
                            
                            
                                Description  BULK HOSE, VINYL (4X7X8000) (4X7X30)
                            
                            
                                Serial Range   1000001 - 9999999
                            
                            
                                    Qty  
                            
                                    Price  $34.56                            
                            
                                    Add To Cart 
                            
                            
                                
 
                        
                            
                                Ref No 30
                            
                            
                                Part Number  95003-07008-60M
                            
                            
                                Description  BULK HOSE, VINYL (4X7X8000) (4X7X230)
                            
                            
                                Serial Range   1000001 - 9999999
                            
                            
                                    Qty  
                            
                                    Price  $34.56                            
                            
                                    Add To Cart 
                            
                            
                                
 
                        
                            
                                Ref No 31
                            
                            
                                Part Number  99101-ZG0-0580
                            
                            
                                Description  JET, MAIN (#58)
                            
                            
                                Serial Range   1000001 - 9999999
                            
                            
                                    Qty  
                            
                                    Price  $8.48                            
                            
                                    Add To Cart 
                            
                            
                                
 
                        
                            
                                Ref No 31
                            
                            
                                Part Number  99101-ZG0-0600
                            
                            
                                Description  JET, MAIN (#60)
                            
                            
                                Serial Range   1000001 - 9999999
                            
                            
                                    Qty  
                            
                                    Price  $8.18                            
                            
                                    Add To Cart 
                            
                            
                                
 
                        
                            
                                Ref No 31
                            
                            
                                Part Number  99101-ZG0-0620
                            
                            
                                Description  JET, MAIN (#62)
                            
                            
                                Serial Range   1000001 - 9999999
                            
                            
                                    Qty  
                            
                                    Price  $7.46                            
                            
                                    Add To Cart 
                            
                            
                                
 
                        
                            
                                Ref No 32
                            
                            
                                Part Number  99204-ZE0-0350
                            
                            
                                Description  JET SET, PILOT (#35)
                            
                            
                                Serial Range   1000001 - 9999999
                            
                            
                                    Qty  
                            
                                    Price  $22.50                            
                            
                                    Add To Cart