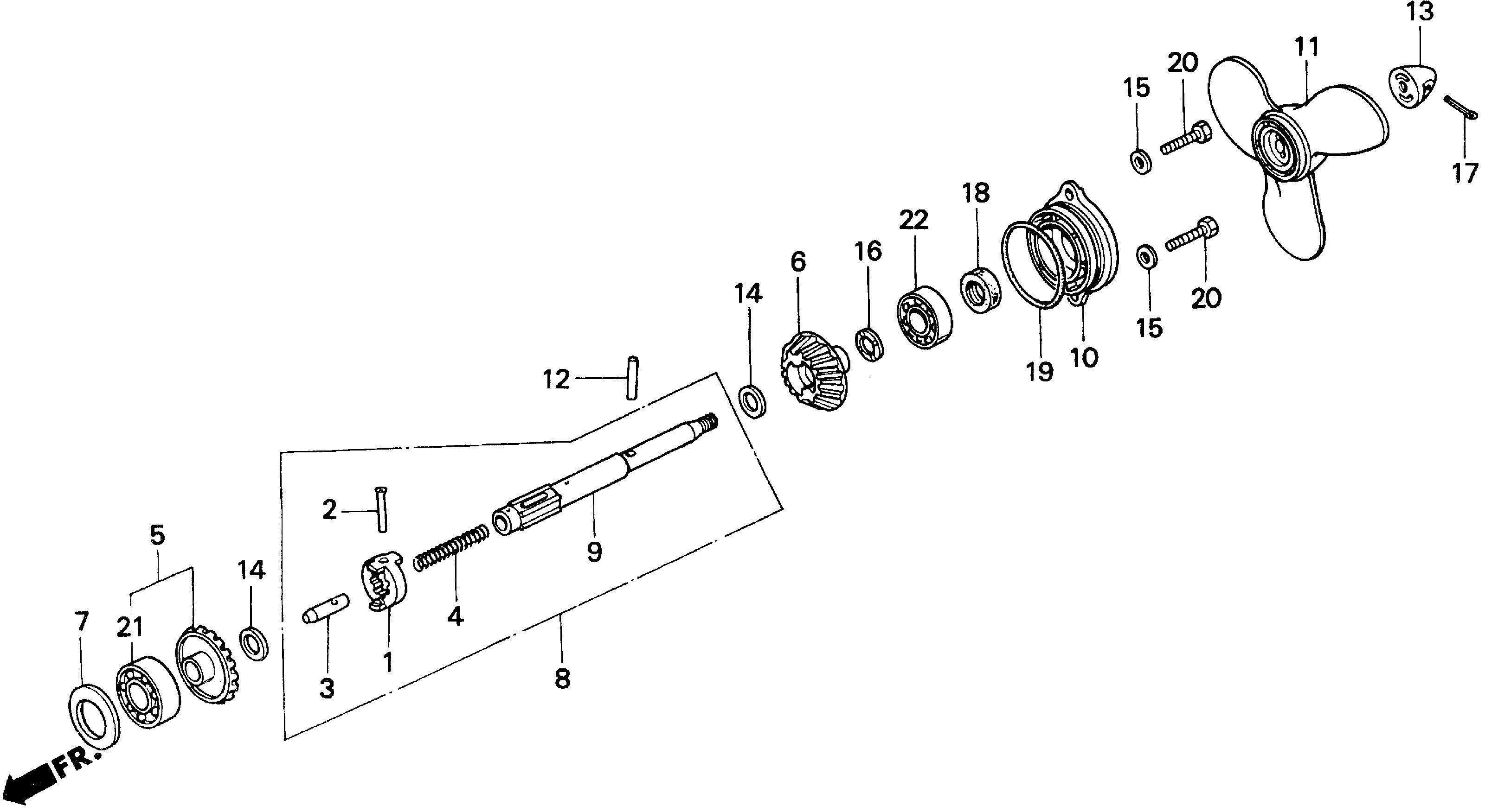
Ref No
Part Number
Description
Serial Range
Qty
Price
Ref No 1
Part Number 24101-935-300
Description SHIFTER, CLUTCH (NOT AVAILABLE)
Serial Range 1000001 - 9999999
Ref No 2
Part Number 24102-935-300
Description PIN, SHIFTER (4X35)
Serial Range 1000914 - 9999999
Ref No 3
Part Number 24122-921-300
Description SLIDER, SHIFT
Serial Range 1000001 - 9999999
Ref No 4
Part Number 24123-921-300
Description SPRING, SHIFT
Serial Range 1000001 - 9999999
Qty
Price $13.98
Add To Cart
Ref No 5
Part Number 41140-881-000
Description GEAR, FR. BEVEL
Serial Range 1000001 - 9999999
Ref No 6
Part Number 41150-881-000
Description GEAR, RR. BEVEL
Serial Range 1000914 - 9999999
Qty
Price $238.22
Add To Cart
Ref No 7
Part Number 41157-921-000
Description SHIM A, GEAR (0.10MM)
Serial Range 1000001 - 9999999
Qty
Price $4.94
Add To Cart
Ref No 7
Part Number 41158-921-000
Description SHIM B, GEAR (0.15MM)
Serial Range 1000001 - 9999999
Qty
Price $5.70
Add To Cart
Ref No 8
Part Number 41160-881-000
Description SHAFT, PROPELLER
Serial Range 1000001 - 9999999
Qty
Price $238.40
Add To Cart
Ref No 9
Part Number 41161-881-300
Description SHAFT, PROPELLER (NOT AVAILABLE)
Serial Range 1000001 - 9999999
Ref No 10
Part Number 41201-881-840ZA
Description HOLDER, PROPELLER SHAFT *NH210MC* (AQUA SILVER METALLIC-C)
Serial Range 1000001 - 9999999
Ref No 10
Part Number 41201-881-841ZA
Description HOLDER, PROPELLER SHAFT *NH210MC* (AQUA SILVER METALLIC-C)
Serial Range 1100888 - 1101398
Ref No 10
Part Number 41201-881-842ZA
Description HOLDER, PROPELLER SHAFT *NH210MC* (AQUA SILVER METALLIC-C) (NOT AVAILABLE)
Serial Range 1101399 - 9999999
Ref No 11
Part Number 58130-881-840ZB
Description PROPELLER, THREE-BLADE *NH283* (STIN GRAY)
Serial Range 1000001 - 9999999
Qty
Price $150.37
Add To Cart
Ref No 12
Part Number 58131-881-000
Description PIN, SHEAR
Serial Range 1000001 - 9999999
Qty
Price $5.96
Add To Cart
Ref No 13
Part Number 58141-881-010
Description CAP, PROPELLER
Serial Range 1000001 - 9999999
Ref No 14
Part Number 90503-921-020
Description WASHER (17MM)
Serial Range 1000001 - 9999999
Ref No 15
Part Number 90506-ZV4-000
Description WASHER, PLAIN (6MM)
Serial Range 1000001 - 9999999
Qty
Price $3.26
Add To Cart
Ref No 16
Part Number 90533-921-000
Description WASHER C, GEAR (2.10MM)
Serial Range 1000001 - 9999999
Ref No 16
Part Number 90534-921-000
Description WASHER D, GEAR (2.15MM)
Serial Range 1000001 - 9999999
Qty
Price $5.30
Add To Cart
Ref No 17
Part Number 90757-921-000
Description PIN, SPLIT (3MM)
Serial Range 1000001 - 9999999
Ref No 18
Part Number 91251-935-004
Description SEAL, WATER (17MM) (NOK)
Serial Range 1000001 - 9999999
Qty
Price $16.54
Add To Cart
Ref No 19
Part Number 91351-881-000
Description O-RING (66MM)
Serial Range 1000001 - 9999999
Qty
Price $5.62
Add To Cart
Ref No 20
Part Number 90124-ZV4-000
Description BOLT, HEX. (6X20)
Serial Range 1000001 - 9999999
Qty
Price $2.82
Add To Cart
Ref No 21
Part Number 96100-60050-00
Description BEARING, RADIAL BALL (6005)
Serial Range 1000001 - 9999999
Qty
Price $14.56
Add To Cart
Ref No 22
Part Number 96100-62030-00
Description BEARING, RADIAL BALL (6203)
Serial Range 1000001 - 9999999